• Столб индикатора типа стены
Столб индикатора типа стены

Тип: настенный, вертикальный
Материал: чугун
Сертификат UL/FM

Тел: +86-532-66952179/66952180

E-mail: qdiflow@qdiflow.com

Описание

ТЕХНИЧЕСКИЕ ХАРАКТЕРИСТИКИ :
● Указывает, находится ли подземный клапан в ОТКРЫТОМ или ЗАКРЫТОМ положении.
● Используется для управления клапаном, установленным за стеной
● Управляется маховиком
● Наплавленное эпоксидное покрытие с внутренним и наружным покрытием.
Регулировка поля:
● Снимите верхнюю часть верхней части стойки индикатора.
● Обрежьте шток до необходимой длины и отрегулируйте стояк, чтобы он соответствовал ЛИНИИ ЗАЗЕМЛЕНИЯ.
● Установите цели ОТКРЫТИЯ и ЗАКРЫТИЯ для клапана соответствующего размера.
● Снова прикрепите верхнюю часть верхней части стойки индикатора.

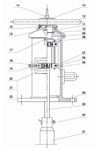
Спецификация

Нет.НаименованиеМатериал

Qingdao I-Flow Co., Ltd

1Крановая муфтаАСТМ А126Б
2ШплинтАНСИ 1035
3Удлинительный стерженьАНСИ 1045
4ТелоАСТМ А126Б
5ЦельАСТМ S12A
6Шестигранная гайкаАНСИ 1035
7Шестигранная гайкаАНСИ 1035
8Кронштейн положенияАНСИ 304
9Рабочая гайкаАНСИ 304
10Стопорное кольцоАСТМ А29
11КрышкаАСТМ А126Б
12МаховикАСТМ А126Б
13Стопорное кольцоАСТМ А36
14Подъемное кольцоАНСИ 1035
15ВинтАНСИ 1035
16ОрехАНСИ 1035
17БолтАНСИ 1035
18ЗатыкатьАНСИ 1035
19Оконная железаАСТМ А36
20ЦельАСТМ S12A
21СтеклоОриганическое стекло
22ПрокладкаЭПДМ

 

Сопутствующие товары

Запрос

Отправить